사업자등록번호 조회 방법 총정리
안녕하세요 혁박입니다. 오늘은 사업자등록번호 조회 방법에 대해서 알아보겠습니다.
<목차>
1. 상호명으로 사업자등록번호 조회하기(Feat.공정거래위원회)
2. 사업자등록 상태 조회하기(홈택스)
사업을 통해 거래를 하다보면, 상대방의 사업자등록상태 조회가 필요한 경우가 있습니다. 조회가 필요한 이유는 다음과 같은데요.
①이미 폐업사일 경우를 조회
②상대 사업자가 거짓일 경우를 조회
서로 믿고 거래해야하지만, 언제나 Risk를 헷지하는 자세는 필요합니다. 만약사업자라고 해도, 간이과세자인지 일반과세자인지, 면세사업자인지도 확인할 필요가 있습니다.
해당 포스팅에서는 상호명으로 사업자등록번호를 조회하는 방법과, 사업자등록 상태를 조회하는 방법을 소개하겠습니다.
1.상호명으로 사업자등록번호 조회하기(Feat. 공정거래위원회)
만약 내가 거래하고 있는 사업자의 등록번호를 모르는 경우에는, 상호명과 대표자이름으로 사업자정보를 확인할 수 있습니다. 공정거래위원회 Site에서 확인이 가능한데요.
다만, 시장에 교란을 줄 수 있는 Risk가 있는 아래 종류의 사업자만 공개되어 있습니다.

①포탈에서 공정거래위원회 Site 검색
먼저 공정거래위원회 Site에 방문해야 합니다.
공정거래위원회에 오신 것을 환영합니다.
www.ftc.go.kr

②정보공개 → 사업자정보공개

정보공개에서 사업자정보공개를 클릭합니다.
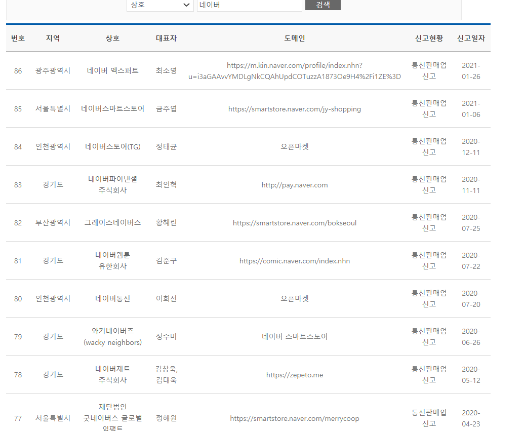
③상호, 대표자 번호로 검색

사업자등록번호, 통신판매번호, 상호, 대표자명으로 검색이 가능합니다.

위의 사진처럼 '네이버'라고 상호명을 넣어서 검색해봤는데요. '네이버웹툰 유한회사'를 클릭해보니, 사업자등록번호와 법인 여부 등을 확인해볼 수 있었습니다.

2.사업자등록 상태 조회하기(홈택스)
만약 거래를 하고 계신 사업자의 '사업자등록번호'를 알고있다면, 홈택스에서 조회가 가능합니다. 우선 홈택스 Site에 방문해야 합니다.
국세청 홈택스
www.hometax.go.kr
①조회/발급 →사업자등록번호로 조회

조회/발급에서 사업자등록번호로 조회를 누르면 됩니다. 로그인이 없이도, 조회가 가능합니다.
②사업자등록번호를 넣고 조회하기

사업자등록번호를 넣어서 조회하기를 누릅니다. '-'이 없이 그냥 숫자를 넣고 검색해도 됩니다.

부가가치세 면세사업자인지도 확인해줍니다.

간이과세자인지 확인할 수 있습니다.

폐업을 했다면, 과거 어떤 유형의 사업자였는지, 과세유형이 언제 바뀌었는지도 알 수 있습니다.

사업자번호가 잘못되었다면, 사업을 하지 않고 있다고 알려줍니다.
'생활정보' 카테고리의 다른 글
| 2021 국가장학금 2차 신청기간 및 신청방법 (0) | 2021.02.11 |
|---|---|
| 온누리 상품권 10% 할인 판매 (0) | 2021.02.08 |
| 사업자등록 신청방법 인터넷 (0) | 2021.02.02 |
| 사회적 거리두기 연장 달라진점 (0) | 2021.01.17 |
| 국민취업지원제도 신청방법 (0) | 2021.01.13 |



